服務熱線:15195518515在線客服:1464856260
傳真號碼:0517-86801009
郵箱號碼:1464856260@qq.com
網 址:http://www.wlcbgl.com
地 址:江蘇省金湖縣理士大道61號

油罐車液位計
- 品*:JKM/凱銘儀表
- 型號:JKM-JY
- 測量范圍:0-100m
- 精度等級:0.25%F.S、0.5%
- 公稱通徑:DN10-DN100
- 適用介質:水,溶劑
- 工作壓力:常壓
- 工作溫度:-20℃~70℃
- 供電方式:24VDC
- 訂貨號:YXKDUUGSU848
油罐車液位計概述
電容式智能液位計是一種可以用于液體、油類、固體、界面和測量的液位(物位)變送器。無可動部件,可靠性大大提高,它不受水蒸汽,灰塵或冷凝的影響,具有長期運行穩定可靠,靈敏度高,線性度好,耐高溫、耐高壓等優點。智能液位計為兩線制(回路供電)4~20mADC測量信號,易于調校,無線傳輸,485傳輸等??蓮V泛用于石油、化工、冶金、電力、造紙、制藥等各個領域。
智能液位計作為本質安全型產品符合GB3836.1-2010《爆炸性氣體環境用電氣設備*1部分:通用要求》和GB3836.4-2010《爆炸性氣體環境用電氣設備*4部分:本質安全型“i”》的有關要求,防爆標志為:ExibIICT6 Ga。

油罐車液位計特點
1、結構簡單,無任何可動或彈性元部件,因此可靠性*高,維護量*少。一般情況下,不必進行常規的大、中、小維修。
2、多種信號輸出,方便不同系統配置。
3、適用于高溫高壓容器的物位測量,且測量值不受被測液體的溫度、比重及容器的形狀、壓力影響。
4、特別適用于酸、堿等強腐蝕性液體的測量。
5、完善的過流、過壓、電源*性保護。
6、無線型液位計具有無線遠傳功能。
7、可以測量任何介質。
油罐車液位計的技術參數
1、檢測范圍: 0.1~30m
2、電容測量范圍: 10PF~5000PF
3、精 度: 0.1級、0.2 級、0.5 級、1 級
4、承壓范圍: -0.1MPa~32MPa
5、探*耐溫: -50~250℃
6、環境溫度: -40~85℃
7、儲存溫度: -55℃~+125℃
8、輸出信號: 4~20mA 、4~20mA 疊加 HART 通訊、485 通訊等
9、無線輸出型液位計通信距離小于200米,供電電壓4.2-36V(可選電池供電)
10、供電電壓: 15~36V DC
11、液位計材質: 316 不銹鋼、1Gr18Ni19Ti 或聚四氟乙烯
12、長期穩定性: ≤0.1%FS/ 年,
13、溫度漂移: ≤0.01%FS/ ℃(在0~70 ℃范圍內)
14、防爆等級: ExibIICT6
15、防護等級: IP67
16、本安參數:Ui:28VIi:93mAPi:0.65WCi:0.28ufLi:1.5mH
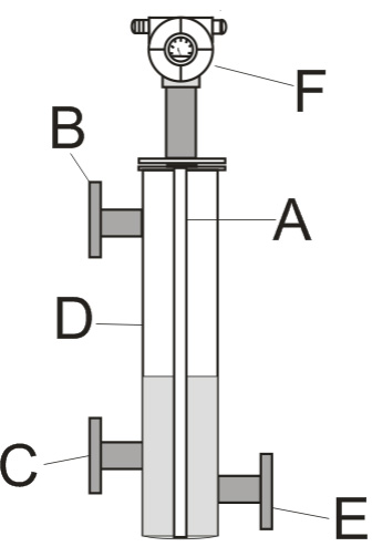
油罐車液位計的結構
電容式液位測控儀由于使用場合及參數的不同其結構會有所差異,但總體來看,其主要結構大致可分為兩大部分,即傳感器部分與變送器部分。如圖所示:

圖中A所示為傳感器,直接探入容器設備或測量表筒的被測介質中。 電容式系列液位測控儀一般由傳感器、變送器以及其它輔助設備組成,其典型應用是利用連通器原理將待測設備中介質引入測量表筒,而傳感器位于測量表筒的中心位置,液體的流入或界面的變化引起傳感器內電*與測量表筒內壁之間的介電常數發生變化,從而引起電容量的變化。此時,由傳感器將此電容量的變化采集并送之變送器,再由送器轉換成4-20mA信號輸出,則此時被測出的測量筒內的介質高度就是設備內介質的高度,從而實現對設備內介質的測量。
圖中B、C所示分別為液位測控儀的氣相和液相連接法蘭,用于設備法蘭對接,引出設備內的液體與壓力到測量筒。 圖中D所示為液位測控儀測量表筒,可與傳感器電*之間形成電容。
圖中E所示為排污法蘭,可定期將液位測控儀內污物對外排放,保持液位測控儀測量表筒內清潔干凈,避免傳感器粘附污物。
圖中F 所示為變送器,是電容量到標準電流信號的轉換裝置,是整個液位測控儀的中樞部分,其主要作用是接受傳感器送出的液位變換引起的電容變化增量,然后經過轉換輸出4-20mADC標準電流信號。本變送器采用軍品集成器件,功耗低、耐高溫、可靠性強、符合本質安全要求,整體特殊防腐,外殼密封,可用在防爆、防腐工礦環境。
注:變送器與測量表筒之間有段密封部分,由數個密封件組成,能確保被測介質與傳感器接觸但不會向外滲漏,造成危害。此段是重要的密封部分,未經廠家同意請勿擅自拆動,以免引發事故。
油罐車液位計的接線

上圖為2088殼體兩線制電流信號輸出接線方式
備注:無線型液位計內部電池供電無需接線,外部電池供電需要接P+,P-。

產品在安裝完畢后,初次使用時,要確保先開啟氣相閥門,然后開啟液相閥門以保證液位不會劇烈波動,引起測量誤差。
另外,應保證連接電纜接頭接觸良好,防腐蝕等。在長期使用中,注意定期排污,以免污物聚集影響儀表性能。以常見銅液、丙碳液、保合熱水塔、污水池等較為骯臟介質為例應保證每周1到2次排污,而較潔凈介質保證每月1到2次排污即可。
變送器殼體應包裹嚴緊,以防止進水、腐蝕性介質或氣體,禁止外力碰撞和非專業人員拆動。
變送器常用的接線方法有以下三種:如圖(a)(b)(c)所示

如上圖所示為液位測控儀變送器三種接線方法,其中圖(a)所示為變送器直接與數顯表接線圖。圖(b)所示為變送器與DCS控制系統的接線圖,由控制系統供應24V,與變送器連接。圖(c)所示為通過安全柵供電的變送器連接示意,用戶在安裝時候可以參考以上三種接線方法。
油罐車液位計的安裝
1、高壓及低壓的安裝

由于產品僅在外觀設計及材質上有所不同,但同屬于外接式液位測控儀,所以兩者在安裝方法上基本一致,此處一并說明??偟膩碇v,安裝*其簡單快捷,只需將液位測控儀上的氣液相連接法蘭與設備上的氣液相法蘭對接,中間加入密封墊,用螺栓固定即可(注:液位測控儀所帶的連接法蘭已根據雙方約定尺寸焊接完成,不需要另配。用戶應自配閥門和管道)如圖所示。
注:安裝前務必將設備上的引出管內孔清理干凈,確保設備引出管的暢通及法蘭密封面的完好無損。同時,可在液位測控儀法蘭與設備引出法蘭之間加上閥門,以便維修或更換時拆裝儀表的方便。
2、鍋爐型電容液位測控儀的安裝
電容液位測控儀是一種專門用于大中小型鍋爐氣包以及其它類型的高溫液位測量的產品 。
其采用特殊材質及射頻技術,令整機在高溫環境下可長期穩定運行。由于專門用于高溫環境,所以液位測控儀的結構及安裝方法有別于其它產品。
*先,它與其它產品的不處在于它的變送器位于傳感器下方,從測量筒到變送器之間有一段密封兼散熱段,再向下是90度彎臂將變送器引向傳感器一側,這樣就保證了變送器避免承受氣相口附近的高溫影響。另一方面,高溫介質在向下傳熱到變送器時,*先要經過一段特制的散熱段,會大大降低其熱量 。將變送器引向傳感器的側下方,主要是防止傳感器密封段一旦發生泄漏而不至于使介質沿測量筒外壁向下蔓延到變送器部分,引起短路或腐蝕現象。
綜上所述,液位測控儀的結構有著明顯的優勢,這也是它能在高溫環境下長期穩定運行的原因所在。而對于安裝來講,需要注意的是變送器在下,與排污管距離較近,不可反向安裝。安裝如圖所示:

油罐車液位計的校驗
雖然本廠產品出廠前均已作了模擬調整,但在使用前為了使用戶進一步體驗本廠產品的性能,建議用戶進行簡單校驗,另外,如在使用中,對本廠產品的性能有所顧慮,也可自己將整套儀表拆下校驗。(但請勿將本廠產品部件拆開)
外接式液位測控儀的校驗如圖所示:

校驗步驟如下:
1)準備透明水管一根,標上刻度或用尺與其固定為一體,以便校驗時觀察標定實際液位。另外準備一塊三位以上精度的電流表(直流),橡皮塞子數個,足夠的試驗介質(可用水代替)。
2)將透明水管一端與液位測控儀的液相口相連接,并將排污口堵塞,氣相口保持暢通,同時將24VDC供電連接至變送器的接線端子,將電流表串入24VDC線路(接線及串入電流表如圖6.1),確認接線無誤后接通電源。
3)從透明管上端加入介質,介質流經液相管進入液位測控儀,分別將液位加至幾個高度不同的點,因為此時透明管中的液位高度與液位測控儀測量表筒內液位正好相符合,此時讀取電流表數值,然后按輸出的標準4-20mA信號對應的高度比例與采集電流值相比較,即可檢驗液位計的準確與否(注:為了便于計算,一般將幾個點分別取于0%、25%、50%、75%、100%處,對應電流分別為4mA、8mA、12mA、16mA、20mA,而液位測控儀上的零點和量程應分別對應液相、氣相的中心處)。



|